圖文/7Car 小七車觀點
Porsche 近年以 911 Carrera GTS T-Hybrid 與 911 Turbo S 展示品牌在性能混合動力領域的企圖心,透過新式電氣化技術延續經典車系的駕馭體驗。然而,原廠顯然不滿足於現階段的成果,近期透過世界智慧財產權組織(WIPO)曝光的技術文件顯示,位於 Weissach 的研發團隊正著手開發一套更進階的混合動力系統,目標是兼顧更輕、更強、效率更高的全新驅動架構,為下一階段的 911 電氣化奠定基礎。

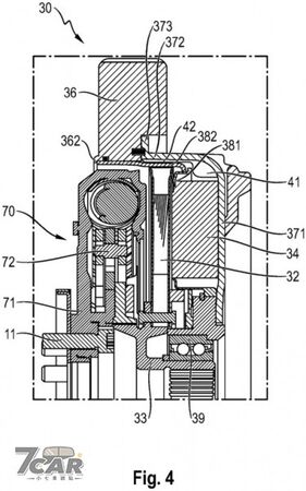
現行 Porsche 的混合動力車型,包括 Cayenne 與 Panamera 的電氣化版本,皆採用安置在 8 速 PDK 雙離合自手排變速箱外殼內的「徑向磁通電動馬達」。但新的專利文件顯示,工程團隊正朝向「軸向磁通電動馬達」前進,並將其設置於引擎與變速箱之間的位置,形成一種更精巧、更高效率的夾層式佈局。此類馬達具有極高功率密度與更優異的冷卻效率,因此在高性能車款中逐漸受到重視。



軸向磁通馬達其實在超級跑車領域並非陌生技術。英國 YASA 所開發的馬達目前被 Mercedes-Benz 掌握,並廣泛應用在 Ferrari SF90、296 GTB、Lamborghini Revuelto、Temerario,甚至 McLaren Artura 與 W1 hypercar 上。以 YASA 最新的量產單元為例,厚度僅約 3 inch,重量僅 28 lbs,卻能釋出高達 1,005 hp 的峰值輸出,充分展現軸向磁通技術的潛力。
值得注意的是,Porsche 並未選擇採購現有成熟產品,而是傾向自行打造專屬的軸向磁通馬達。這樣的研發門檻自然遠高於純採購方案,但原廠顯然認為投入必要資源是值得的。從專利內容來看,這套馬達將配置在獨立的離合器外殼中,並專為搭配雙離合變速系統而設計,同時導入升級的冷卻機制,以確保馬達在高負載、長時間運作下仍能維持最佳工作溫度。
儘管目前仍無法得知這套技術何時能導入量產,但業界推測,這可能是 Porsche 為維持 911 GT3、911 GT3 RS 所採用的自然進氣水平對臥六缸引擎的一項關鍵佈局。原廠曾公開表示,下一代 GT 車系若要符合日益嚴苛的排放與能源效率規範,勢必要在「電氣化」與「渦輪增壓」之間做出選擇,而軸向磁通馬達的加入,或許能讓自然進氣引擎得以延續,並透過電能補強輸出與加速反應。
從整體方向來看,這項技術若成功量產,不只代表 Porsche 將在高性能電氣化領域建立自主優勢,也象徵 911 車系在面臨排放法規與產品演進壓力時,仍努力維持經典設定與品牌核心價值。









讀者迴響