
▲TOYOTA全新電動車專利圖曝光!未來電動車不只續航更強,更強化車內空間。(圖/翻攝自TOYOTA)
記者徐煜展/綜合報導
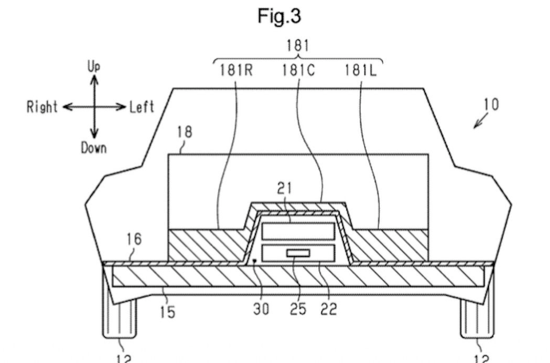
TOYOTA接下來可不只要推出續航更強的固態電池,近期在美國流出的原廠專利設計圖來看,未來電動車除了大幅提升續航力表現外,並會針對車內空間作優化,帶來更寬敞舒適的乘坐表現。


▲TOYOTA計劃透過全新模組化底盤,爭取車內最大空間,並改善操控重心。
TOYOTA申請一種全新底盤結構設計,以不犧牲電池容量的前提下,為車內騰出更多內部空間。相比過去舊式電動車,TOYOTA計劃將一些電子零件安裝在座艙前段中間區域,能有助於乘坐舒適性提升,也可能帶來更低的靈活操控重心。

▲模組化底盤可涵蓋更多休旅、掀背跨界等多種級距。
全新底盤模組化設計更容易用來發展SUV、掀背、房車甚至是性能車型,達成模組化降低成本,倘若成功量產,未來的TOYOTA電動車將具有比現行BZ系列達到更低的售價成本。
值得注意的是,TOYOTA雖然在電動車市場的策略仍是相當謹慎,尤其近期更減少2026年電動車產量,並加強油電混合動力技術布局,來因應全球電動車市場需求放緩的現狀,目前來看TOYOTA仍會以油電為主、電動車為輔作多元化佈局。







讀者迴響